Осушители коалесцентные серии CK Contracor предназначены для использования с мобильными дизельными компрессорами для наружных абразивоструйных работ.
Используются в сочетании с фильтром CAF-3, установленным на абразивоструйных аппаратах DBS.
Это эффективный метод удаления до 95% конденсата и твёрдых частиц размером до 10 микрон из линии сжатого воздуха.
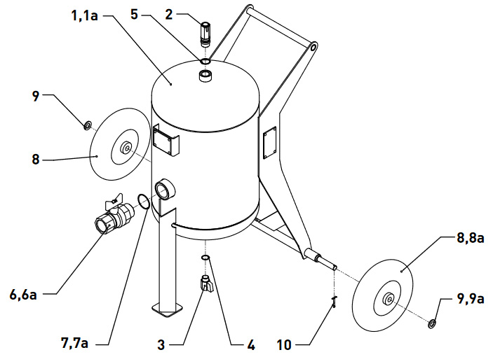
Спецификация CK-50, CK-150 |
|||||
|
|||||
| Основные компоненты | |||||
| # | Артикул | Описание | Кол-во CK-50 |
Кол-во CK-150 |
|
| 1 | 89800001 | Сборник | 1 | - | |
| 1a | 89800002 | Сборник | - | 1 | |
| 2 | 21730002 | Клапан | 1 | 1 | |
| 3 | 52140004 | Кран шаровый | 1 | 1 | |
| 4 | 67000004 | Кольцо | 1 | 1 | |
| 5 | 67000008 | Кольцо | 1 | 1 | |
| 6 | 52140015 | Кран шаровый | 1 | - | |
| 6a | 52140016 | Кран шаровый | - | 1 | |
| 7 | 67000001 | Кольцо | 1 | - | |
| 7a | 67000007 | Кольцо | - | 1 | |
| 8 | 28300002 | Колесо | 2 | - | |
| 8a | 28300001 | Колесо | - | 2 | |
| 9 | 64110016 | Шайба | 2 | - | |
| 9a | 64110020 | Шайба | - | 2 | |
| 10 | 60210440 | Шплинт | 2 | 2 | |
Спецификация CK-250 |
|||||
|
|||||
| Основные компоненты | |||||
| # | Артикул | Описание | Кол-во | ||
| 1 | 89800003 | Сборник | 1 | ||
| 2 | 28300001 | Колесо | 2 | ||
| 3 | 64110020 | Шайба | 2 | ||
| 4 | 60210440 | Шплинт | 2 | ||
| 5 | 52140015 | Кран шаровый | 1 | ||
| 6 | 52140004 | Кран шаровый | 1 | ||
| 7 | 67000003 | Кольцо | 1 | ||
| 8 | 67000004 | Кольцо | 1 | ||
| 9 | 21730001 | Клапан | 1 | ||
| 10 | 67000001 | Кольцо | 1 | ||
| 11 | 52030004 | Пробка | 2 | ||
ОПИСАНИЕ И ТЕХНИЧЕСКИЕ ХАРАКТЕРИСТИКИ КОАЛЕСЦЕНТНЫХ ОСУШИТЕЛЕЙ СЕРИИ CK CONTRACOR






























































