Применяется для точной дозировки тяжёлых или агрессивных абразивных материалов, таких как литая и колотая дробь или оксид алюминия.
Конструктивное исполнение дозатора металлического абразива SGV предотвращает соприкосновение корпуса клапана с потоком абразива.
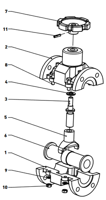
|   | |||
| # | Артикул | Наименование | Количество | 
| Дозатор металлического абразива SGV | |||
| 1 | 29000043 | Корпус верхний | 1 | 
| 2 | 29000042 | Корпус нижний | 1 | 
| 3 | 29000041 | Шток | 1 | 
| 4 | 29000040 | Шайба | 1 | 
| 5 | 29000039 | Вилка | 1 | 
| 6 | 29000038 | Вставка резиновая | 1 | 
| 7 | 29000037 | Рукоятка | 1 | 
| 8 | 61111035 | Болт | 4 | 
| 9 | 64310008 | Шайба пружинная | 4 | 
| 10 | 63110008 | Гайка | 4 | 
| 11 | 90202016 | Штифт распорный | 1 | 
ОПИСАНИЕ И ТЕХНИЧЕСКИЕ ХАРАКТЕРИСТИКИ ДОЗАТОРА МЕТАЛЛИЧЕСКОГО АБРАЗИВА SGV CONTRACOR (10946) >>>

























































 
                   
                  



